有立國際股份有限公司
關於有立
最新消息
產品介紹
支援服務
檔案下載
問與答
聯絡我們
PRODUCTS
產品介紹
專業的諮詢 / 完善的品質 / 迅速的服務
HOME
產品介紹
回上頁
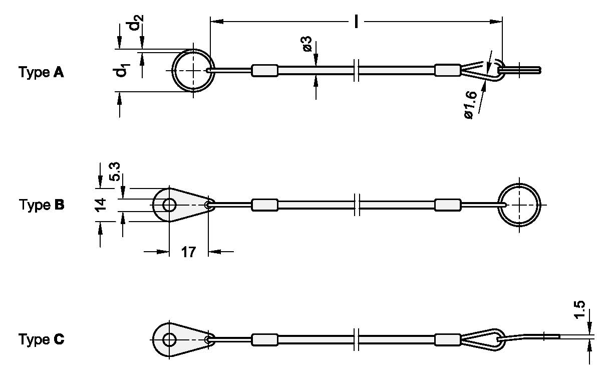
GN 111.8 固定鍊條
商品編號:GN 111.8
GN 111.8 固定電纜有 3 種不同的類型,因此可用於廣泛的應用,例如用於防損或用作連接和安裝電纜。
由於材料的選擇,固定電纜適用於高腐蝕性環境。
交付時,鑰匙環已經安裝在固定電纜上。對於A型,兩個環的直徑d1相同。
對於所有類型,環都是橫向反轉並彼此平行連接,這在簡化圖中沒有完全考慮。
表中給出的載荷值是非約束性的指導值,排除任何責任。
分享:
加入洽詢單
GN 111.8 PDF
不鏽鋼特性
規格說明
關於有立
最新消息
產品介紹
支援服務
檔案下載
問與答
聯絡我們
網頁設計
‧
iLeo
洽詢車
你的洽詢車總計
0
件產品
產品介紹
洽詢表單
商品搜尋
偵測到您已關閉Cookie,為提供最佳體驗,建議您使用Cookie瀏覽本網站以便使用本站各項功能